Vertical Turbine Pump
The vertical turbine pumps can be used to transport liquids such as clean water, rainwater, iron oxide skin water, sewage, corrosive industrial wastewater, seawater, etc. below 55 ℃; After special design, it can transport liquids at 90 ℃.
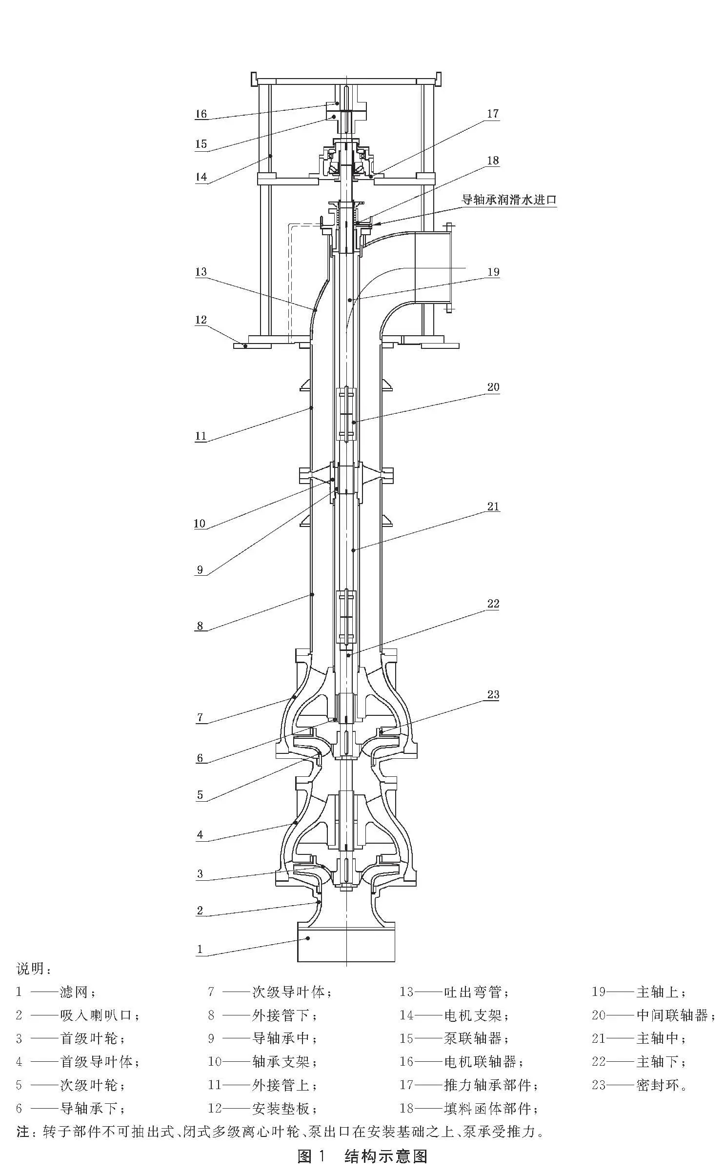
Description
This kind of vertical drainage pump is mainly used for pumping no
corrosion, temperature less than 60 °C, suspended solids (not including
fiber, the grits) less than 150 mg/L content of the sewage or waste
water.
VTP type vertical drainage pump is in VTP type vertical water pumps, and on the basis of the increase and the collar, set the tube oil lubrication is water. Can smoke temperature below 60 °C, send to contain a certain solid grain (such as scrap iron and fine sand, coal, etc.) of sewage or waste water.
Parameters
| Outlet diameter: | 100~2600mm |
| Capacity: | 40~72000m3/h |
| Head: | 5~260m |
| Solid parameter: | ≤80mg/L |
| Permissible pressure: | ≤4Mpa |




Application
Vertical turbine pumps are suitable for industrial and mining enterprises such as power plants, steel mills, water companies, sewage treatment plants, petrochemicals, mines, as well as municipal water supply and drainage projects, agricultural irrigation, flood control and drainage projects. It can be used to transport media such as clean water, rainwater, iron pit water, sewage, and seawater.
Competitive Advantage
All items of vertical turbine pump manufactured from our company are made by investment casting, finish cast die, precise casting mould. Our items range a wide area. We can make it for fire fighting used with NFPA20 Standard. We can make energy saving vertical turbine pump and the blades can be removed and the angle can be adjusted during installation.

EN
EN




